事项名称: 取水许可
政策依据:《中华人民共和国水法》、《取水许可和水资源费征收管理条例》、《国务院对确需保留的行政审批项目设定行政许可的决定》
受理单位: 扶风县水利局
办理地点:扶风县城关街道美阳路002号水资源办公楼2楼
办理时间:法定工作日(法定节假日除外)8:00-12:00 14:00-18:00 ;7月、8月8:00-12:00 15:00-18:00
联系电话:0917-5214652
申请条件:需取用水的单位和个人
提交材料:(1)申请文件;
(2)申请书;
(3)与第三者利害关系的相关说明;
(4)属于备案项目的,提供有关备案材料;
(5)取水单位或个人的法定身份证明文件;
(6)建设项目需要取水的,申请人还应当提交具有资质单位编制并经审定的建设项目水资源论证报告书及审查意见;不需要编制建设项目水资源论证报告书的,应当提交建设项目水资源认证表;
(7)利用已批准的入河排污口退水的,应当出具具有管辖权的水行政主管部门或者流域管理机构的同意文件;
(8)国务院水行政主要部门规定的其他材料。
办理时限:20个工作日
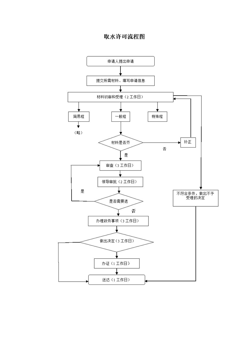
办理流程:

Copyright ? 2016 www.shjzwc.com All Rights Reserved. 356884.com门户网
陕ICP备12002704号 网站标识码:6103240002
联系我们:0917-5211328