事项名称:主要农作物常规种子经营许可
政策依据:《中华人民共和国种子法》
受理单位:扶风县农业局
办理地点:扶风县城关街道飞凤路30号执法大队办公楼2楼
办理时间: 法定工作日(法定节假日除外)8:00-12:00 14:00-18:00 ;7月、8月8:00-12:00 15:00-18:00
联系电话:0917-5215915
申报条件:主要农作物常规种子经营许可的,应具备以下条件:1.注册资本不少于500万元;2.具有完好的净度分析台、电子秤、置床设备、电泳仪、电泳槽、样品粉碎机、烘箱、生物显微镜、电冰箱各1台(套)以上,电子天平(感量百分之一、千分之一和万分之一)1套以上,扦样器、分样器、发芽箱各2台(套)以上,检验室150平方米以上;3.有仓库500平方米以上,晒场1000平方米以上或者相应的种子干燥设施设备,营业场所300平方米以上;4.具有种子加工成套设备,总加工能力种子不低于10吨/小时,,加工厂房500平方米以上;5.有专职种子加工技术人员3名以上,种子贮藏技术人员3名以上,经省级以上人民政府农业行政主管部门考核合格的种子检验人员3名以上;6.农业部规定的其他条件。
提交材料:(一)农作物种子生产、经营许可证申请表;
(二)固定资产证明材料复印件;申请单位性质、资本构成等基本情况证明材料;
(三)种子检验、加工等设施设备清单和购置发票复印件;种子检验室、加工厂
房、仓库的产权证明复印件;晒场的产权证明(或租赁协议)复印件,或者种子干燥设施设备的产权证明复印件;计量检定机构出具的涉及计量的检验、包装设备检定证书复印件;相关设施设备的情况说明及实景照片;
(四)种子检验、加工、贮藏等有关技术人员的资质证明和劳动合同复印件;
(五)种子生产地点检疫证明;
(六)品种审定证书复印件;
(七)生产具有植物新品种权的种子,提交品种权人的书面同意证明;
(八)种子生产安全隔离和生产条件说明;
(九)农业部规定的其他材料。
办理时限:20个工作日(不含实地考察时间)
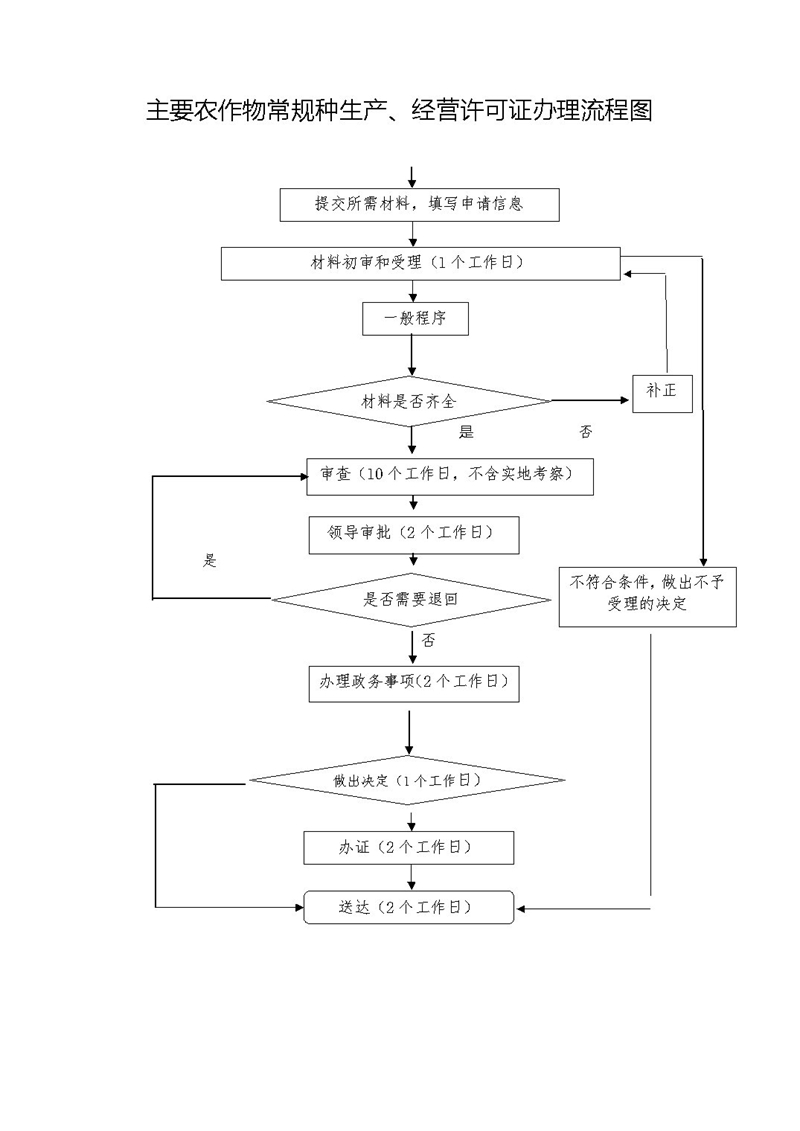
办理流程:

Copyright ? 2016 www.shjzwc.com All Rights Reserved. 356884.com门户网
陕ICP备12002704号 网站标识码:6103240002
联系我们:0917-5211328