|
事项名称 |
民用爆炸物品购买证许可 |
||
|
事项类型 |
行政许可 |
法定期限 |
5个工作日 |
|
权力来源 |
法定本级行使 |
承诺期限 |
2个工作日 |
|
实施机关 |
扶风县公安局 |
咨询电话 |
0917-2982732 |
|
责任科室 |
治安管理大队 |
监督投诉电话 |
0917-2982720 |
|
办事对象 |
民用爆炸物品使用单位 |
办理地点、时间 |
陕西省扶风县新区东二路16号,扶风县公安局120室,法定工作日:周一至周五(节假日休息)8:00-12:00,14:00-18:00(7、8月为15;00-18:00) |
|
申报条件 |
1、购买民用爆炸物品必须是已纳入民爆器材供销合同内的产品; |
||
|
办理材料 |
1、工商营业执照或者事业单位法人证书; |
||
|
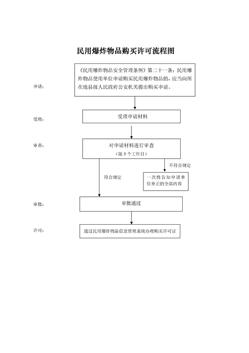
办理流程图 |
见附件 |
||
|
收费情况 |
不收费 |
||
|
法定依据 |
《民用爆炸物品安全管理条例》(国务院令第466号发布,第653号修订)第二十一条第一款 民用爆炸物品使用单位申请购买民用爆炸物品的,应当向所在地县级人民政府公安机关提出购买申请,并提交下列有关材料: |
||
|
责任事项 |
1、受理阶段责任:公示依法应当提交的材料;一次性告知补正材料;依法受理或不予受理(不予受理应当告知理由)。 2、审查阶段责任:依法对申报材料审核、提出预审意见。 3、决定阶段责任:作出决定(不予行政许可的应当告知理由);按时办结;法定告知。 4、送达阶段责任:制发送达文书;信息公开。 5、事后监督责任:加强专项检查和日常检查。 6、其他法律法规政策规定应承担的责任 |
||
|
责任依据 |
《中华人民共和国行政许可法》《民用爆炸物品安全管理条例》 |
||
|
事项编码 |
61032400007XK00300 |
||

Copyright ? 2016 www.shjzwc.com All Rights Reserved. 356884.com门户网
陕ICP备12002704号 网站标识码:6103240002
联系我们:0917-5211328