|
事项名称 |
实施中等及中等以下学历教育、学前教育、自学考试助学及其他文化教育的学校设立、变更和终止审批 |
||
|
事项类型 |
行政许可 |
法定期限 |
筹设:30日内;设立、分立、合并:3个月内; |
|
权力来源 |
法定本级行使 |
承诺期限 |
筹设:12日内;设立:1个月内; |
|
实施机关 |
扶风县教育体育局 |
咨询电话 |
0917-5230931 |
|
责任科室 |
基础教育股 |
监督投诉电话 |
0917-5232910 |
|
办事对象 |
国家机构以外的社会组织或者个人 |
办理地点、时间 |
扶风县新区南一路青少年活动中心二楼;法定工作日:周一至周五(节假日休息)8:00-12:00,14:00-18:00(7、8月为15:00-18:00) |
|
申报条件 |
一、举办民办学校的社会组织,应当具有法人资格。举办民办学校的个人,应当具有政治权利和完全民事行为能力。民办学校应当具备法人条件。 |
||
|
办理材料 |
一、申请筹设民办学校:1.申办报告内容应当包括:举办者、培养目标、办学规模、办学层次、办学形式、办学条件、内部管理体制、经费筹措与管理使用等;2.举办者的姓名、住址或者名称、地址;3.资产来源、资金数额及有效证明文件,并载明产权;4.属捐赠性质的校产须提交捐赠协议,载明捐赠人的姓名、所捐资产的数额、用途和管理办法及相关有效证明文件。 |
||
|
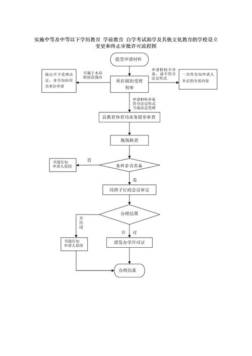
办理流程图 |
见附件 |
||
|
收费情况 |
不收费 |
||
|
法定依据 |
《中华人民共和国教育法》第二十八条:学校及其他教育机构的设立、变更和终止,应当按照国家有关规定办理审核、批准、注册或者备案手续。 |
||
|
责任事项 |
1.受理阶段责任:公示依法应当提交的材料;一次性告知补正材料;依法受理或不予受理(不予受理的应当告知理由)。2.审查阶段责任:对申请材料进行审查,依据《中华人民共和国教育法》《中华人民共和国民办教育促进法》等法规及事实,做出是否符合设立结论。 3.决定阶段责任:符合条件的给予认定,不符合条件的告知理由。 4.送达阶段责任:制发相关文书,信息公开。 5.事后监管责任:在出现《中华人民共和国行政许可法》等法律规定情形时依法注销办学资格。 6.其他责任:法律法规规章规定应履行的责任。 |
||
|
责任依据 |
《中华人民共和国行政许可法》、《中华人民共和国教育法》《中华人民共和国民办教育促进法》 |
||

Copyright ? 2016 www.shjzwc.com All Rights Reserved. 356884.com门户网
陕ICP备12002704号 网站标识码:6103240002
联系我们:0917-5211328